一、視頻實拍
二、產品簡介
立式容積式水表也叫立式旋轉活塞式水表,是一種定排量式的水表,安裝在封閉管道中,由一些被逐次充滿和排放流體的已知容積的容室和憑借流體驅動的機構組成的一種水表,主要用于純凈水及其他計量精度要求較高,水質較好的流量計量工作。
三、產品類型
LXH(DN15~25mm)銅殼款

LXH-s(DN15~20mm)塑殼款

LXH2(DN15mm)不銹鋼殼款

四、工作原理
在水壓的作用下,水從下部進水口進入到立式容積式水表的測量室內,推動旋轉活塞環繞測量室的中心軸作旋轉運動,同時水從活塞內空處及活塞與測量室壁面所形成的空處流向上部出水口排出,在活塞旋轉的同時,由轉動軸和撥叉與計數機構相連接,所以只要記下活塞旋轉的次數,就可計算出流過水表的水流量體積。
五、產品特點
1. 采用活塞旋轉原理;
2. 計量精度高該表各項技術指標符合ISO4064 C級、D級標準或R160, R200標準;
3. 計數器與水隔開,數字清晰,讀數方便;
4. 性能穩定可靠,采用優質材料;
5. 適用于水質較好的管網;
6. 進水口(立式)或出水口(水平)裝有止回閥,可防止倒流;
7. 可適用于≤50℃的冷水;
8. 水壓:≤1MPa 或1.6MPa (即10bar 或16bar);
9. 本表可根據用戶要求增加遠傳脈沖輸出功能。
六、流量技術參數
| 公稱口徑 | 計量等級 | Qmax | Qn | Qt | Qmin | 最小讀數 | 最大讀數 |
| 最大流量 | 常用流量 | 分界流量 | 最小流量 | ||||
| DN(mm) | m3/h | L/h | m3 | ||||
| 15 | C | 3 | 1.5 | 22.5 | 15 | 0.00002 | 9999 |
| D | 17.2 | 11.2 | |||||
| 20 | C | 5 | 2.5 | 37.5 | 25 | 0.00002 | 9999 |
| D | 28.7 | 18.7 | |||||
| 25 | C | 7 | 3.5 | 52.5 | 35 | 0.00002 | 9999 |
| D | 40.18 | 26.18 | |||||
| 公稱口徑 | 計量等級 | Q? | Q? | Q? | Q? | 最小讀數 | 最大讀數 |
| 最大流量 | 常用流量 | 分界流量 | 最小流量 | ||||
| DN(mm) | m3/h | L/h | m3 | ||||
| 15 | R160 | 3.125 | 2.5 | 25 | 15.625 | 0.00002 | 9999 |
| R200 | 20 | 12.5 | |||||
| 20 | R160 | 5 | 4 | 40 | 25 | 0.00002 | 9999 |
| R200 | 32 | 20 | |||||
| 25 | R160 | 7.875 | 6.3 | 63 | 39.375 | 0.00002 | 9999 |
| R200 | 50.4 | 31.5 | |||||
七、最大允許誤差
① 低區 (Q?≤Q<Q?) 最大允許誤差為±5%
② 高區 (Q?≤Q≤Q?) 最大允許誤差為±2%

八、壓力損失曲線

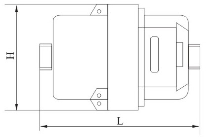
九、外形及規格尺寸

| 型號 | 公稱口徑 DN | 長 L | 長 L1 | 寬 W | 連接螺紋 |
| mm | D | ||||
| LXH-15 | 15 | 115 | 91 | 91 | G?B |
| LXH-20 | 20 | 130 | 96 | 96 | G1B |
| LXH-25 | 25 | 170 | 95 | 112 | G1?B |